logo
共创推荐山东国内国际频道视频情报站数字报
下载APP
微信扫码下载客户端 微信扫码
下载客户端
济南 济南 青岛 青岛 淄博 淄博 枣庄 枣庄 东营 东营 烟台 烟台 潍坊 潍坊 济宁 济宁 泰安 泰安 威海 威海 日照 日照 临沂 临沂 德州 德州 聊城 聊城 滨州 滨州 菏泽 菏泽
即时 即时时事 时事政务 政务党建 党建省政府 省政府社会 社会教育 教育汽车 汽车城市生活 城市生活财经 财经经济 经济产经 产经文旅 文旅消费 消费法治 法治健康 健康科技 科技体坛 体坛评论 评论青未了 青未了舆情 舆情眼界 眼界职场 职场养老 养老书画 书画摄影 摄影福彩 福彩乐活 乐活商务 商务康养 康养孕婴童 孕婴童齐鲁农超 齐鲁农超智库 智库壹点号 壹点号公益 公益相亲 相亲外文 外文原创 原创聚焦山东 聚焦山东生活 生活
推荐 推荐直播 直播果然视频 果然视频小视频 小视频
齐鲁晚报 齐鲁晚报
推荐直播果然视频小视频
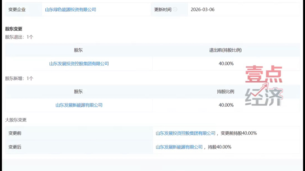
壹点企讯|子公司接盘40%股权,山东绿色能源投资完成股权划转

壹点企讯|子公司接盘40%股权,山东绿色能源投资完成股权划转

50分钟前

全程免费!市北区少年宫2026年春季公益课堂开始招生

全程免费!市北区少年宫2026年春季公益课堂开始招生

11:20

果然视频丨去年城阳大剧院惠民演出24场,平均票价百元以内

果然视频丨去年城阳大剧院惠民演出24场,平均票价百元以内

11:20

果然视频丨AI只是能力“放大器”,人是创业核心占99%

果然视频丨AI只是能力“放大器”,人是创业核心占99%

11:20

果然视频丨AI赋能新媒体获客,创业者:3天工作1小时搞定

果然视频丨AI赋能新媒体获客,创业者:3天工作1小时搞定

11:20

果然视频丨“单人+智能体”降低创业门槛,让创业者更容易入门

果然视频丨“单人+智能体”降低创业门槛,让创业者更容易入门

11:20

果然视频丨已达中超比赛标准!青春足球场系统维护中

果然视频丨已达中超比赛标准!青春足球场系统维护中

11:20

果然视频丨羽毛球10元畅打!城阳体育馆开放12片球场

果然视频丨羽毛球10元畅打!城阳体育馆开放12片球场

11:19

两会声音丨全国政协委员徐坤:AI重塑了教师的角色,使其更好地关注于育人

两会声音丨全国政协委员徐坤:AI重塑了教师的角色,使其更好地关注于育人

11:17

两会声音丨全国政协委员许可慰:“双证关联”服务让台湾同胞往来大陆更便捷

两会声音丨全国政协委员许可慰:“双证关联”服务让台湾同胞往来大陆更便捷

11:16

两会声音丨全国政协委员刘成勇:中国国家版本馆已接待参观220多万人次

两会声音丨全国政协委员刘成勇:中国国家版本馆已接待参观220多万人次

11:14

济滨高铁在滨启动铺轨

济滨高铁在滨启动铺轨

10:27

被问英皇群星演唱会上是否会唱新歌,陈伟霆:谁说我有演唱会?还反问粉丝:我去吗?

被问英皇群星演唱会上是否会唱新歌,陈伟霆:谁说我有演唱会?还反问粉丝:我去吗?

10:21

两位阿婆为消结节,网购“黄独”服用致肝衰竭,医生提醒!

两位阿婆为消结节,网购“黄独”服用致肝衰竭,医生提醒!

10:20

奶奶把AI当知己聊天,没人打断,没人反驳,越说越起劲,根本停不下来

奶奶把AI当知己聊天,没人打断,没人反驳,越说越起劲,根本停不下来

10:20

更多内容
鲁ICP备15022957号-13     鲁公网安备 37010202002220号     鲁新网备案号201000101    电信增值业务许可证:鲁B2-20120085

齐鲁晚报·齐鲁壹点 版权所有(C)  All Rights Reserved     联系电话:0531-82625462    邮箱:1790179766@qq.com